تصاویر| از صندلی پارچهای تا ماساژور سر؛ ویژگیهای عجیب مرسدس بنز S کلاس جدید
در دنیای امروز، لوکس بودن دیگر فقط به معنی زرق و برق بیشتر نیست. خودروسازان بزرگ، بهویژه در سگمنت پرچمدار، در حال بازتعریف مفهوم تجمل هستند؛ گاهی با حذف آگاهانهی عناصر سنتی و گاهی با افزودن فناوریهایی که تا همین چند سال پیش بیشتر شبیه خیالپردازی بودند.
مرسدس بنز با معرفی فیسلیفت S کلاس، همزمان دو مسیر متفاوت را جلو میبرد: از یک سو خودرویی را معرفی میکند که حتی بدون چرم هم میتواند لوکس باشد و از سوی دیگر روی فناوریهایی کار میکند که قرار است آرامش سرنشین را به سطحی کاملا جدید برسانند.
در دنیای امروز، لوکس بودن دیگر فقط به معنی زرق و برق بیشتر نیست. خودروسازان بزرگ، بهویژه در سگمنت پرچمدار، در حال بازتعریف مفهوم تجمل هستند؛ گاهی با حذف آگاهانهی عناصر سنتی و گاهی با افزودن فناوریهایی که تا همین چند سال پیش بیشتر شبیه خیالپردازی بودند. مرسدس بنز نمونهی بارز این رویکرد دوگانه است، برندی که از یک طرف S کلاس جدید بدون چرم طبیعی را عادیسازی میکند و از طرف دیگر، به ماساژ سر داخل خودرو فکر میکند.

اسکلاس پایه؛ لوکس بدون اغراق
براساس گزارش motor۱، مرسدس بنز همیشه تمایل دارد محصولاتش را در فولترین حالت ممکن نمایش دهد، اما واقعیت این است که در آن سوی ویترین براق، نسخهای کاملا پایه هم وجود دارد. با فعال شدن پیکربندی اس کلاس جدید در وبسایت آلمانی مرسدس، مشخص شد که حتی پرچمدار این برند هم میتواند بدون آپشنهای تجملاتی از کارخانه خارج شود.

اولین S کلاس بدون چرم
مرسدس اعلام کرده که فیسلیفت W۲۲۳ اولین اس کلاسی است که میتوان آن را بدون چرم طبیعی سفارش داد. در این نسخه، صندلیها ترکیبی از چرم مصنوعی در کنارهها و پارچهای از کتان و پلیاستر بازیافتی در بخش مرکزی هستند. جالبتر اینکه چرم طبیعی مشکی همچنان به عنوان یک آپشن بدون هزینه در دسترس است، موضوعی که نشان میدهد حذف چرم، یک انتخاب است نه کاهش هزینه.

چرا این نسخه در آمریکا موجود نیست؟
این اس کلاس پایه دلایل روشنی برای غیبت در بازار آمریکا دارد. مرسدس در ایالات متحده فقط نسخههای فاصلهمحوری بلند را عرضه میکند و موتورهای دیزلی نیز عملا جایی در این بازار ندارند. در مقابل، بازار آلمان میزبان مدل S۳۵۰d است؛ نسخهای با فاصله محوری کوتاهتر که نکتهی بحثبرانگیزش، کابین بدون چرم طبیعی است.

ساده، اما همچنان گران
نباید فراموش کرد که عبارت «پایه» در دنیای S کلاس هنوز هم به معنای گرانقیمت است. قیمت نسخه پایه در آلمان از ۱۰۹٬۲۲۰ یورو آغاز میشود؛ رقمی که با احتساب مالیات بر ارزش افزوده ۱۹ درصدی، بهراحتی به محدوده ۱۳۰ هزار دلار میرسد. همین نکته باعث میشود که مقایسه قیمت با بازار آمریکا چندان منصفانه نباشد.
حتی در این نسخه مینیمال، مرسدس تصمیمهای هوشمندانهای گرفته است؛ این کمپانی همچنان رینگهای ۱۸ اینچی، رنگ خاکستری استاندارد، نمایشگر سمت سرنشین جلو و مهمتر از همه دکمههای فیزیکی روی فرمان را برای این مدل حفظ کرده است.

از حذف چرم تا اضافهکردن ماساژ سر
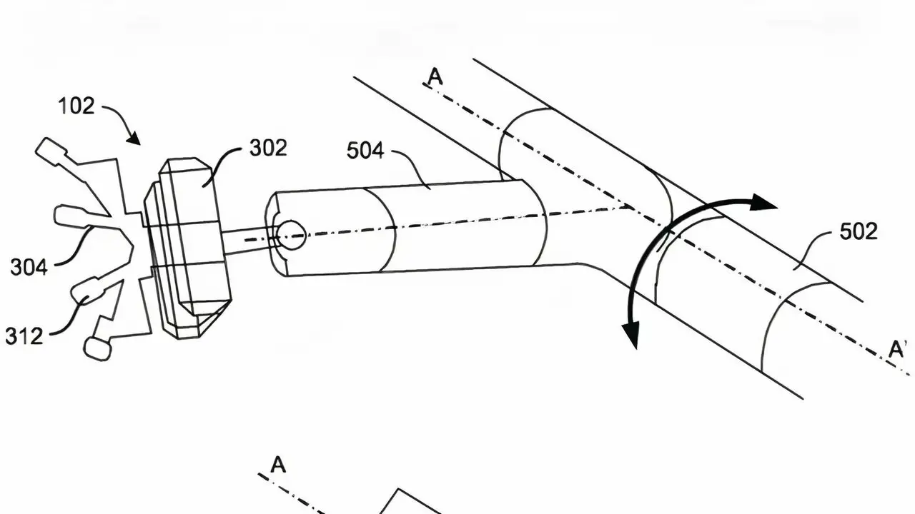
براساس گزارش carscoops، همان برندی که از کابین بدون چرم دفاع میکند، همزمان در حال ثبت یک اختراع برای ماساژور سر است. در حالی که ماساژ کمر و نشیمن به آپشنی نسبتا رایج تبدیل شده، مرسدس میخواهد یک گام جلوتر برود. ثبت اختراعی که به تازگی در آلمان منتشر شده نشان میدهد این شرکت در حال بررسی سیستمی برای ماساژ سر، مستقیما از طریق پشتسری صندلی است؛ چیزی که تا امروز هیچ خودروسازی بهطور جدی وارد فاز تولیدش نکرده است.

ماساژ سر، با دقت آناتومیک
طبق این پتنت، سیستم پیشنهادی شامل یک محور مرکزی و چند بازوی مکانیکی کوچک است که میتوانند حرکات ظریف، لرزشهای کنترل شده و چرخشهای ملایم ایجاد کنند. هدف، ایجاد آرامش است نه تحریک شدید؛ چرا که حرکت بیش از حد سر میتواند تمرکز راننده را مختل کند. سنسورها نیز قد و موقعیت سر سرنشین را تشخیص میدهند تا ماساژ دقیقا با فیزیک هر فرد هماهنگ شود.

اگر این مسیر ادامه پیدا کند، شاید در آینده حتی ماساژور گردن هم به فهرست امکانات اضافه شود؛ هرچند اجرای چنین ایدهای بسیار پیچیدهتر است. فعلا این بخش بیشتر به قلمرو خیال نزدیک است، اما سابقه مرسدس نشان داده که ایدههای عجیب همیشه هم در حد شوخی باقی نمیمانند.
منبع: خبرآنلاین